Neue Artikel
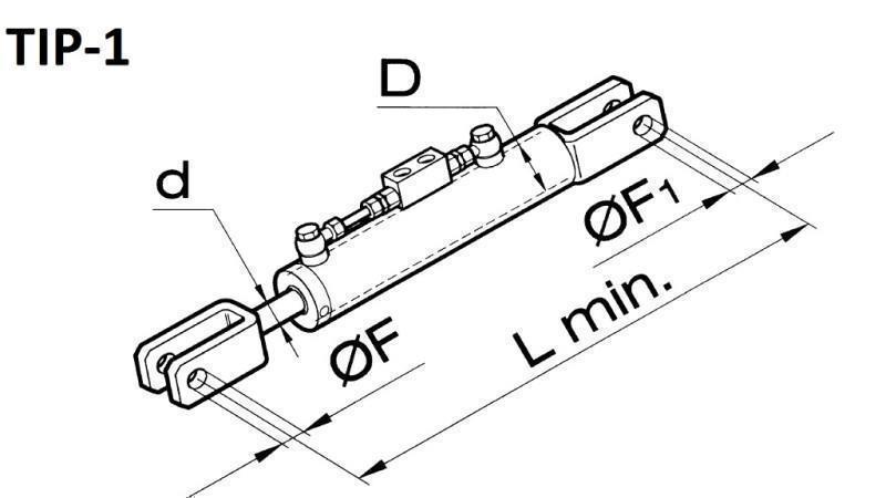
SEITLICHE HUBSTREBENVERSTELLUNG - FIAT-NEW HOLLAND 80/40min.600 tip (1) fi 28/28
Verwendung für Traktore:
TRAKTORTYP:
FIAT-NEW HOLLAND
Traktormodel:
1000
Algemeine Beschreibung:
SEITLICHE HUBSTREBENVERSTELLUNG (eng. top side link oder side third point) ist eigentlich ein gewönlicher doppelwirkender Zylinder mit angeschweisten Anschlüßen für die Unterlenkermontage. Er dient zum einzelnen Höheeinstellung von der Unterlenker, auch als zusätzliche Verstärkung von der Unterlenker und vergrößert die Tragfähigkeit. Alle Hubstrebenverstellungen haben auch einen Sperrblockventil, der für die Sicherheit dient ( im falle von Schlauchschaden bleibt der Zylinder in der selber Position und deshalb auch die Traktoranschlüße ). Sperrblockventil dient auch, das die Schlauche nicht unter den Druck sind und deshalb das Steuergäret an den Traktor auch nicht unter Belastung ist.





